Vorverkabelungs-lösungen für Industrieleuchten

Sammode bietet Vorverdrahtungslösungen für Leuchten, die selbst in den härtesten Umgebungen, einschließlich ATEX, standhalten, um dauerhaft und sicher zu beleuchten.

Unsere Verkabelungslösungen sind ebenfalls so konzipiert, dass sie die Montage erleichtern und Installationskosten sparen (Umverdrahtung, Durchgangsverdrahtung...).

 

Praktisch und robust Sammode, bis hin zu den Kabeleinführungen


Ein Bedürfnis, ein Kabeleintrag

Auf alle Situationen reagieren, selbst auf die extremsten: Das ist das Versprechen von Sammode. Von Standardkabeln mit freiem und entmanteltem Ende bis hin zu Lösungen mit doppelter Kabelverschraubung, von ATEX-Steckern bis hin zu Hochtemperaturkabeln ist alles möglich.

 

Vorverkabelt, einsatzbereit

Eine werkseitige Vorverkabelung wird für eine einfache und vollständige Installation angeboten: Kabeltyp und -länge, Anschlüsse, Abzweigungen, durchgehende oder nicht durchgehende Kabel und viele andere Möglichkeiten. Sammode unterstützt Sie, indem es Ihnen eine große Zeitersparnis bei der Installation ermöglicht.

 

Garantierte Wasserdichtigkeit

Die vorverkabelten Sammode-Leuchten sind Ihre Verbündeten beim Aufbau einer leistungsstarken und kraftvollen Lichtinstallation. Um ihre perfekte Dichtigkeit vor Ort zu gewährleisten, ist ein schnelles Anziehen der Flansche erforderlich, um die Dichtung der zentralen Schraube leicht zu quetschen. Eine einfache Sichtkontrolle ermöglicht es, die korrekte Quetschung der Dichtung zu überprüfen. Diese Kontrolle garantiert eine dauerhafte Dichtigkeit und ermöglicht Ihnen eine sichere und zuverlässige Installation.

 

Um eine perfekte Abdichtung Ihrer Leuchte zu gewährleisten, ist das Anziehen des Flanschs von entscheidender Bedeutung.

 

Die Kabelverschraubung

Zusätzlich zu den Kabelverschraubungen aus Polyamid, die in verschiedenen Größen erhältlich sind, auch in unseren ATEX-Produktreihen, bietet Sammode Kabelverschraubungen aus Metall an, die aufgrund ihrer außergewöhnlichen Leistung ausgewählt wurden. Aus vernickeltem Messing, um Schlagfestigkeit und ästhetische Qualität zu vereinen. Aus Edelstahl 316L für die korrosivsten Umgebungen.

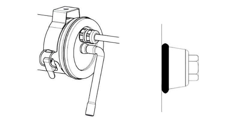
Die PS3-Schnellsteckdose IP68/69k

Die PS3-Steckdose wurde von Sammode auf Robustheit getrimmt: Der Ring und die Grundplatte sind aus vernickeltem Messing, was eine unübertroffene mechanische Festigkeit und Langlebigkeit gewährleistet. Außerdem ist der Sockel geharzt, sodass keine Feuchtigkeit eindringen kann. Dies macht ihn zum einzigen PS3-Stecker auf dem Markt, der wirklich IP68 und IP69k entspricht.

Die Wieland-Kordel

Alle Sammode-Leuchten können auf Wunsch mit Wieland-RST-Kabel in der gewünschten Länge vorverkabelt werden. Sammode liefert den männlichen und weiblichen Stecker und bietet auch den Wieland-Stecker mit Y-Verteiler an. Diese kostengünstige Lösung ermöglicht die externe Verdrahtung an der Leuchte, ohne dass diese geöffnet werden muss. Eine erhebliche Zeitersparnis.

Das Kabel mit Maréchal ATEX-Anschluss

Die Maréchal-Steckdose PNCX garantiert eine sichere und schnelle Installation in explosionsgefährdeten Bereichen (ATEX). Diese Lösung ist für die Zonen 1, 2, 21 und 22 geeignet. Zusätzlich zum Stecker, der an die Leuchte angeschlossen wird, liefert Sammode die Buchse, die an das Netzwerk angeschlossen wird.

Kabel für jede Temperaturatmosphäre

Sammode bietet die Vorverkabelung von Standardkabeln (-25°C bis +40°C Umgebungstemperatur), wärmeverstärkten Xtrem-Kabeln (-40°C bis +50°C Umgebungstemperatur) und X-Heat-Kabeln für sehr hohe Temperaturen (-60°C bis +180°C Umgebungstemperatur). Das X-Heat-Kabel ist flammhemmend und erfüllt die strengen Sicherheitsanforderungen in besonders heißen Umgebungen. Sammode kann Ihnen helfen, die für Ihr Projekt am besten geeigneten Vorverdrahtungslösungen zu finden; jede Leuchte kann vorverdrahtet bestellt werden.